新闻中心

土壤生态修复的新鲜动态

高效土壤修复设备都包括什么

2018-03-23 08:52:31 284 编辑:admin 来源:本站
        电镀厂、化工厂、炼油厂、制药厂、加油站等厂区在生产经营过程中,会使场地内的 土壤中积累大量有机物、重金属等废弃物,造成场地及土壤的严重污染。场地中污染物组成 复杂、污染性强、浓度高,是潜在的污染源,而且在环境中会产生一些毒性更强的中间产物, 如果长期得不到及时处理,会对周边土壤及地表水甚至地下水造成污染,还可通过饮用水 或通过土壤-植物系统,经由食物链进入人体,危及生态安全和人群健康。目前的一些加药 装置,一般都是泼洒在土壤的表层,这样深层的土壤不能吸收药剂,而且加药装置体积大, 需要大型机械设备操作,使用成本高。 我们为要解决的技术问题是提供一种高效土壤修复装置,不需要使用增压 泵,不需要使用复杂的机械,人们插入并挤压药剂箱即可出液,且能够方便控制需要修复的 土壤的深度。 

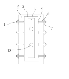
        高效土壤修复装置,包括一插板,插板的顶部安装有一药剂箱,所述药剂箱的顶部具有一柔软橡胶层,所述柔软橡胶层的顶部具有两操作手柄,所述插板的外侧端设置有一个以上的垂直于水平面的底座,底座的外侧端均设置有一个滑动腔,所述滑动腔的内壁设置有滑轨,所述滑动腔内均装入一出液板,出液板的外侧端面呈锥形状,其顶面设置有一个进液接口,所述进液接口上连接一进液软管,进液软管的另一端固定连接药剂箱外部的出液接口,所述出液板的锥形面上设置有一个以上的出液凸点。本实用新型结构简单,能够实现方便的深度调节,挤压实现出液,不使用机械电力设备,插入土壤更加的省力,出液均匀,且能够深入到土壤中。

30

装备制造经验

立即免费获取土壤修复方案

为用户提供及时、高效、便捷的服务

在线咨询
AG棋牌环境希望与你携手,共创美好未来...
5